分享
檢舉
地址
桃園市大園區中山南路 地圖

基本資料

型態大樓
屋齡10.5年
管理方式保全公司
格局開放格局
座向坐西南朝東北
管理費$3,360 / 月
樓層1-2 / 9 樓
公設比--
房貸參考$80,805 /月

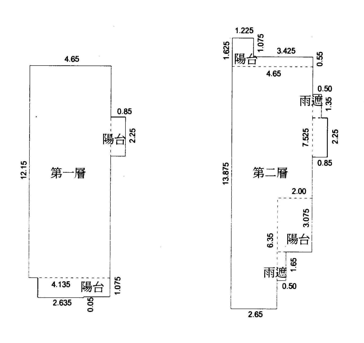
坪數說明

建物 75.14 坪
主建物33.34 坪
附屬建物5.45 坪
共同使用20.83 坪
其他 -- 坪
土地-- 坪

喜歡我努力🌈大園國小邊間面寬挑高1+2樓店面車位

2,980 萬 (含車位)
  • 型態
    大樓 (有電梯)
  • 格局
    開放格局
    • 建物
      75.14 坪
    • 單價
      -- 萬
    • 樓層
      1-2 / 9 樓
    • 屋齡
      10.5 年
特色描寫
#小張的家🏡 🌈(專)大園國小邊間面寬挑高1+2樓店面車位 🍎 熱銷價:2980萬 🍎 👍一身名牌,不如一張門牌👍 大園國小邊間金店面 大園市區熱鬧 航空城發展 帶動就業人口 美好可期~ 我們位置就在大園國小斜對面 補教安親 美容美髮 餐飲 診所 邊間漂亮 百業討喜 除現有市區加持 未來航空城發展 約5分鐘步行可達 麥當勞 肯德基 全聯 農會 worldgym健身房 1樓店面挑高3米6,2樓可辦公住家 地下室有平面車位 以上距離時間參考自GOOGLE MAPS 實際會因路況.查詢時間而有些微差異 ------------------------------ 🎁開價不等於成交價,心動不如馬上行動!🏃‍♀️ ☎️歡迎立即來電預約賞屋 ☎️賞屋專線:0928-768611 張先生 ☎️LINE ID: a1112yes 直接點加入: https://line.me/ti/p/HqocVb7C4L -5168眾多優質選擇- https://buy.houseprice.tw/agent/0928768611 📬全區經營 歡迎屋主專任委託 📬一人委託 百人服務 📬中信房屋中壢新生加盟店-新堯企業社 📬不動產經紀人 : 徐定豐(103)桃縣字第000339號
展開看全部
}